
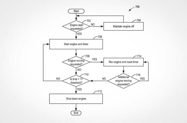
Компания Ford подала патентную заявку на технологию, которая позволит владельцам автомобилей дистанционно увеличивать обороты двигателей без нажатия на педаль акселератора. Согласно описанию, для удаленного управления мотором владельцу потребуется специальное устройство, выполненное в виде брелока. Причем «поддать газу» можно будет на «различных расстояниях от транспортного средства».
Компания Ford подала патентную заявку на технологию, которая позволит владельцам автомобилей дистанционно увеличивать обороты двигателей без нажатия на педаль акселератора. Согласно описанию, для удаленного управления мотором владельцу потребуется специальное устройство, выполненное в виде брелока. Причем «поддать газу» можно будет на «различных расстояниях от транспортного средства».
Как считают в Ford, необычная функция подойдет для владельцев автомобилей, которые захотят продемонстрировать возможности своих двигателей, стоя снаружи машины. Кроме того, похвастаться ревом многолитровых моторов смогут участники тематических автомобильных выставок. При этом на каком расстоянии можно будет дистанционно управлять оборотами агрегатов, пока неизвестно.
Необычные патентные заявки демонстрируют, что многие автомобильные компании стараются мыслить нестандартно, а иногда всего лишь придумывают новые функции, способные вызвать положительные эмоции у клиентов.



Удаленное управление оборотами двигателя стало очередным «изобретением» американской марки наряду с режимом дрифта и функцией удаленной парковки. Однако подача заявки на патент не означает, что компания получит одобрение и тем более реализует свой проект.
В середине апреля компания Hyundai подала патент на разработку системы распознавания человека по радужной оболочке глаза. В будущем биометрическая защитная технология может появится на автомобилях марки.
Автомобили с самой дружелюбной электроникой
Свежие комментарии