
General Motors нашел способ содержать в чистоте автопарк беспилотных такси. Как сообщает Fox, концерн подал заявку на патент системы для салона, способной самостоятельно проводить легкую уборку — без участия человека. От оператора потребуется лишь очищать мусорный контейнер в конце дня. Система разработана специально для шаттлов Cruise Origin, которые появятся на дорогах Сан-Франциско в 2023 году.
General Motors нашел способ содержать в чистоте автопарк беспилотных такси. Как сообщает Fox, концерн подал заявку на патент системы для салона, способной самостоятельно проводить легкую уборку — без участия человека. От оператора потребуется лишь очищать мусорный контейнер в конце дня. Система разработана специально для шаттлов Cruise Origin, которые появятся на дорогах Сан-Франциско в 2023 году.
Поддержание чистоты — непростая задача для беспилотных машин. На их борту нет сотрудников, которые могли бы убирать за пассажирами брошенные обертки или остатки еды, так что мусор зачастую курсирует с автомобилями весь день.
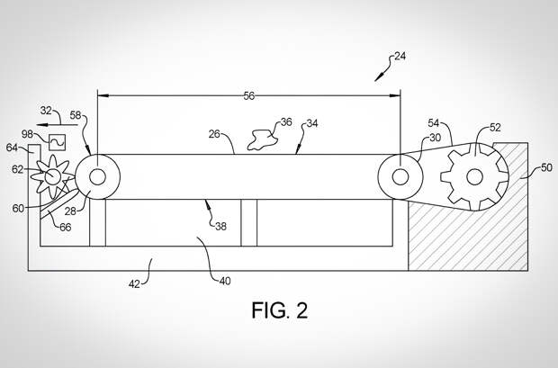
Решить проблему должна помочь система самоочистки, которую стремится запатентовать General Motors. Она спроектирована для шаттлов Cruise Origin, но в перспективе может пригодиться и другим автономным машинам похожей конструкции — то есть, с плоским полом.



Работает система по принципу конвейера. Если салонные датчики и камеры определят, что необходима уборка, пол придет в движение: верхняя часть «уедет» и поменяется местами с нижней. Мусор при этом будет сброшен в подвешенный снизу поддон, который можно опорожнять, когда автомобиль вернется на базу для обслуживания или зарядки.
Кроме этого, система сможет самостоятельно устранять наледь и снег, но более традиционным способом — датчики будут давать сигнал для включения обогрева пола. Как «робоуборщик» будет справляться с прилипшим мусором, неизвестно. Также пока неясно, как быть с мусором, не брошенным на пол, а оставленным на сиденьях.
На сегодняшний день подразделение Cruise, занимающееся автономными перевозками, приносит General Motors только убытки. Причем серьезные: за второй квартал 2022 года концерн потерял на нем 500 миллионов долларов, или порядка 5,5 миллиона долларов (330 миллионов рублей) в день. Однако руководство верит в потенциал подразделения и крупную прибыль в перспективе, когда отрасль беспилотных перевозок получит развитие.
Необычный транспорт будущего: по суше, воде, воздуху и на Луне
Свежие комментарии